NHỚT KẾ VEBE
THÔNG SỐ KĨ THUẬT
Xuất xứ: Việt Nam
Model: NT08-58
Hãng SX: NATRACO
Phù hợp TCVN 3017:2022
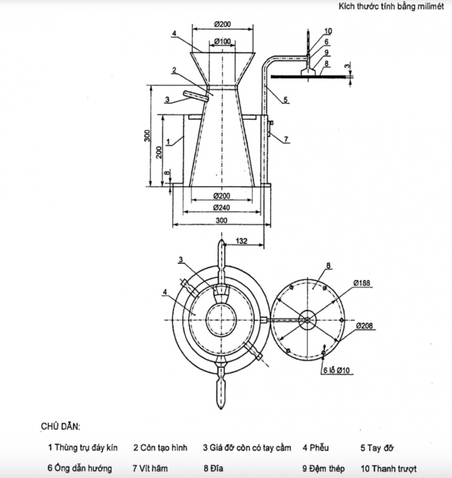
- Kích thước côn thử độ sụt: Φ100/200 x cao 300 mm
- Đường kính trong của thùng: 240 ±2 mm
- Đường kính đĩa 208mm, đục 6 lỗ phi 10mm
- Tốc độ rung: 3000 ±200 vòng/phút
- Biên độ rung của bàn: 0.5 ±0.1 mm
- Kích thước: 380 x 500 x 670 mm
- Khối lượng: khoảng 50 kg
- Nguồn điện: 220V, 50Hz
Trong lĩnh vực kiểm định chất lượng bê tông, độ cứng Vebe là một chỉ tiêu quan trọng để đánh giá khả năng thi công của hỗn hợp bê tông tươi. Đáp ứng nhu cầu đo lường chính xác, ổn định và tuân thủ tiêu chuẩn, Công ty NATRACO đã nghiên cứu và sản xuất thành công thiết bị Nhớt kế Vebe model NT08-58, xuất xứ Việt Nam, hoàn toàn phù hợp TCVN 3017:2022 và TCVN 3107:2022 – tiêu chuẩn quốc gia về phương pháp xác định độ cứng Vebe.

Nhớt kế Vebe là gì? Tại sao cần thiết?
Nhớt kế Vebe là thiết bị chuyên dụng để đo thời gian cần thiết để hỗn hợp bê tông tươi từ dạng hình nón cụt bị đầm phẳng bằng dao động cơ học. Chỉ số thời gian Vebe (tính bằng giây) cho biết hỗn hợp đó cứng hay dẻo, dễ hay khó thi công, từ đó giúp kỹ sư kiểm soát chất lượng và điều chỉnh cấp phối hợp lý.
Nếu độ sụt bằng 0 hoặc rất thấp, phương pháp Vebe là lựa chọn tối ưu thay thế thí nghiệm độ sụt thông thường.
Thiết kế chắc chắn – Độ bền vượt trội
Nhớt kế Vebe NT08-58 được chế tạo bằng khung thép sơn tĩnh điện, kết cấu vững chắc, chịu rung tốt và dễ bảo trì. Bề mặt bàn rung được thiết kế phẳng, cân bằng, đảm bảo kết quả đo ổn định, chính xác và lặp lại được nhiều lần.

Nguyên lý hoạt động & Phương pháp thí nghiệm Vebe (theo TCVN 3107:2022)
1. Mục đích thí nghiệm
Xác định độ cứng Vebe – biểu thị khả năng chảy và đầm chặt của hỗn hợp bê tông tươi.
Đánh giá tính thi công: hỗn hợp dễ thi công hay khó đầm nén.
2. Thiết bị sử dụng
Nhớt kế Vebe (gồm bàn rung cơ khí, khuôn hình nón cụt, đĩa Vebe).
Thiết bị đo thời gian chính xác khi khối bê tông đạt trạng thái phẳng hoàn toàn.
3. Quy trình tóm tắt
Đổ hỗn hợp bê tông vào khuôn nón cụt.
Nhấc khuôn ra, đặt đĩa Vebe lên bề mặt hỗn hợp.
Kích hoạt bàn rung (dao động ngang), đồng thời bấm giờ.
Khi đĩa Vebe tiếp xúc hoàn toàn với bề mặt phẳng bê tông → dừng bấm giờ.
Thời gian đo được (tính bằng giây) là chỉ số độ cứng Vebe.
4. Phạm vi áp dụng
Bê tông thông thường, bê tông hạt nhỏ, bê tông nhẹ.
Không áp dụng cho bê tông tổ ong, bê tông hốc rỗng hoặc bê tông polystyrene.
✅Sản xuất trong nước – giá thành cạnh tranh, tiết kiệm chi phí nhập khẩu.
✅Tuân thủ đầy đủ tiêu chuẩn quốc gia, đảm bảo độ tin cậy cho các phòng thí nghiệm, viện nghiên cứu, đơn vị thi công.
✅Kết cấu cơ khí chính xác cao, chống rung lệch tâm, tăng tuổi thọ máy.
✅Dễ sử dụng – thao tác đơn giản – dễ vệ sinh sau mỗi lần thí nghiệm.
✅Phù hợp cho môi trường làm việc cường độ cao tại hiện trường hoặc trong phòng thí nghiệm bê tông chuyên nghiệp.
👉🏻Ứng dụng thực tiễn trong các lĩnh vực:
👉🏻Nhà máy bê tông thương phẩm – kiểm soát chất lượng mẻ trộn.
👉🏻Phòng LAS-XD, viện nghiên cứu xây dựng – thí nghiệm đánh giá cấp phối.
👉🏻Công trình thủy điện, cầu đường, hạ tầng lớn – đánh giá độ cứng hỗn hợp trong điều kiện đặc biệt.
👉🏻Các dự án cần bê tông đầm lăn (RCC), bê tông siêu cứng hoặc ít nước.
Liên hệ tư vấn & đặt hàng Nhớt kế Vebe NT08-58
CÔNG TY TNHH THIẾT BỊ NATRACO
Địa chỉ: 388/72/3 Lê Thị Riêng, Phường Thới An, Quận 12, Tp. Hồ Chí Minh.
Hotline: 0917738499 - 0902670829
Zalo hỗ trợ kỹ thuật: 0917738499
Đang online : 795
Truy cập hôm qua : 1391
Tổng truy cập : 1776318


